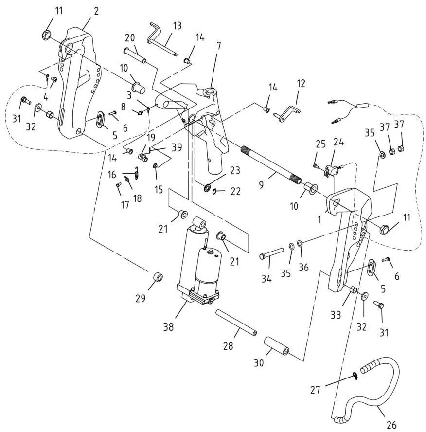
F60 Spare xeem: Bracket1-1
Mar 11, 2026
Tso lus

| Kab 1-1 | ||||||
| TSIS MUAJ. | Khoom siv coding | PART NO. | HMONG DESCRIPTION | FWTL | BWTL | YAMAHA COMPATIBLE |
| 1 | C3015818 | F60-03.00.00.22 | Bracket, Clamp (Sab laug) | 1 | 1 | 6C5-43111-10-8D |
| 2 | C3015819 | F60-03.00.00.24 | Bracket, Clamp (txoj cai) | 1 | 1 | 6C5-43112-01-8D |
| 3 | C3030507 | T20-01.03.15 | Hlau, Lead A | 1 | 1 | 6E5-82148-00 |
| 4 | C40104129 | GB / T823 | Ntsia Hlau M6X8 | 1 | 1 | 97885-06008 |
| 5 | C3090735 | T40FWTL-03.02.19 | Anode | 2 | 2 | 65W-45251-00 |
| 6 | C4010116 | GB / T5783 | Bolt M6X25 | 4 | 4 | |
| 7 | C3015820 | F60-03.00.00.33 | Bracket | 1 | 1 | 6C5-43311-01-8D |
| 8 | C3020534 | JB/T7940.1 | Lub txiv mis, Roj | 2 | 93700-06002 | |
| 9 | C3025838 | F60-03.00.00.38 | Ob -Edged Tube | 1 | 1 | 63D-43131-01 |
| 10 | C3065826 | F60-03.00.00.21 | Bush, Nylon | 2 | 2 | 90386-22 MAS 4 |
| 11 | C3020506 | T20-03.00.01 | Txiv ntseej | 2 | 2 | 90185-22M11 |
| 12 | C3075843 | F60-03.00.07.00 | Txhawb Assy (Sab laug) | 1 | 1 | 6C5-43181-00 |
| 13 | C3075844 | F60-03.00.08.00 | Txhawb Assy (Right) | 1 | 1 | 6C5-43185-00 |
| 14 | C3065831 | F60-03.00.00.34 | Bush, Bracket (Sab laug) | 3 | 3 | 90386-10M16 |
| 15 | C3065832 | F60-03.00.00.35 | Bush, Bracket (txoj cai) | 1 | 1 | 90386-10025 |
| 16 | C3085808 | F60-03.00.00.36 | Caij nplooj ntoos hlav | 1 | 1 | 90506-14M24 |
| 17 | C4010112 | GB / T5783 | Bolt M6X25 | 1 | 1 | |
| 18 | C3075842 | F60-03.00.00.37 | Phaj | 1 | 1 | 6G5-43144-00 |
| 19 | C3065833 | F60-03.00.09.00 | Khawv koob, nrug | 1 | 1 | |
| 20 | C3025837 | F60-03.00.00.30 | Txhawb nqa ncej (Up) | 1 | 1 | |
| 21 | C3065829 | F60-03.00.00.29 | Bush | 2 | 2 | |
| 22 | C4010813 | GB / T894.1 | Washer 16 | 1 | 1 | |
| 23 | C4010538 | GB / T848 | Washer 16 (Qib A, Me) | 1 | 1 | |
| 24 | C3035826 | F60-03.02.00.00 | Nce Sensor Assy | 1 | 63D-83672-11 | |
| 25 | C40104123 | GB / T9074.5 | Bolt Thiab Washer M6X16 | 2 | ||
| 26 | C3095813 | F60-03.00.00.32 | Tube Φ19.5 × 750 | 1 | 1 | |
| 27 | 2.5 × 80 | 2 | 2 | |||
| 28 | C3025836 | F60-03.00.00.26 | Txhawb nqa ncej (down) | 1 | 1 | |
| 29 | C3065828 | F60-03.00.00.28 | Bush, Txhawb nqa | 1 | 1 | |

